In 1998, the U.S. Patent and Trademark Office issued Patent 5,718,632, on a method for avoiding “unnecessary wastage of time” in video games. What’s transpired in the 17 years since then can best be described as an unnecessary wastage of time.
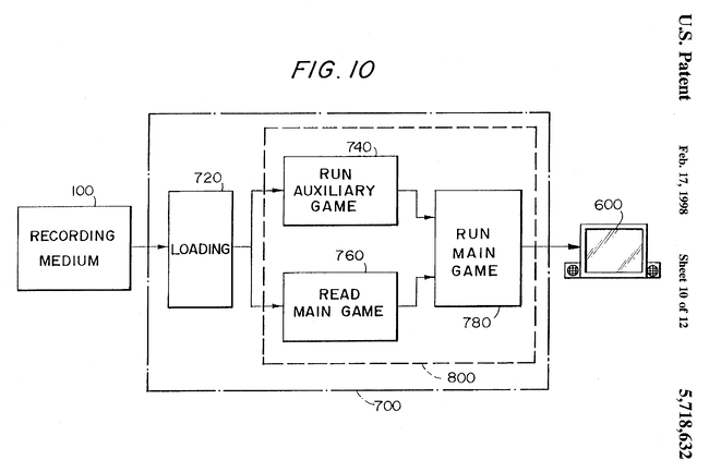
Namco’s patent covers “auxiliary games” that a player can enjoy while the main game is loading. The patent expired on November 27, which has generated a lot of excitement in the gaming world, and even inspired a Loading Screen Jam where developers create their own loading screen games.
In the midst of all the excitement, it’s worth taking a moment to ask whether Patent 5,718,632 should have been issued in the first place. It’s emblematic of a big problem with a lot of patents, particularly software patents.

How Loading Screen Games Weren’t Invented
The first Sony PlayStation was introduced in 1994. Its graphical capabilities blew predecessors like the Sega Genesis and Super Nintendo out of the water, but it had one big disadvantage. It replaced the game cartridges of the previous generation with CD-ROMs. When you booted up a PlayStation game, you had to wait for the console to load game data from the disc into its own memory. And that. Took. For. Ever. Watching a loading screen was boring, especially when you were used to the instant gratification of cartridge games.
Namco’s Ridge Racer addressed the problem by including a second game, the 80s classic Galaxian. It took no time at all for a PlayStation to load Galaxian. Suddenly, the player wasn’t thinking about how boring it was to wait for a game to load; she could have fun playing Galaxian while the console took its time loading Ridge Racer. If she beat Galaxian before Ridge Racer was done loading, she’d be rewarded in Ridge Racer with access to some in-game bonuses.
Should Loading Screen Games Be Patentable?
What’s the big deal? Namco thought of loading screen games first, so they earned the patent, right? Well, let’s look at how U.S. law defines a patentable invention.
According to the law, a person isn’t entitled to a patent if the claimed invention already existed when the application was filed or would have been obvious to someone skilled in the relevant technology area. The idea of playing a small game while the larger one loads has been around for a very long time. In 1987, many years before Namco filed its patent application, Richard Aplin created Invade-a-Load, a utility for developers who wrote games for the Commodore 64 computer. As a game developer, you could package Invade-a-Load with your game; while players waited for the game, they’d be treated to a mini-game similar to Space Invaders. Given the breadth of Namco’s claims, there is a very strong case that its application should have been rejected as anticipated or obvious in light of Invade-a-Load.

Does the Loading Screen Game Patent Promote Innovation?
The purpose of patents, as spelled out in the U.S. Constitution, is to promote innovation. Inventors are rewarded with a temporary monopoly on their invention in exchange for giving the public information on how it works.
The Supreme Court has said that patents should only be granted for “those inventions which would not be disclosed or devised but for the inducement of a patent.” In other words, if the inventor isn’t trading information of real value for the patent, then it’s not a good patent. Unfortunately, many software patents do just the opposite. They offer no real information about how to implement a feature, only a vaguely worded description of the feature itself. In court, vagueness is often rewarded over specificity, as plaintiffs stretch the boundaries of their inventions to cover the defendants’ products.
As for the auxiliary game patent, it simply describes the idea of loading a separate game while the player waits for the main game. Namco gave no information of value in return for its monopoly on auxiliary games.
Last year, the Supreme Court struck down a patent for describing nothing but an abstract idea performed on a computer. If Namco had sued someone over its patent, there’s a good chance it would have lost. But it didn’t matter: even the existence of these low quality, abstract software patents is enough to deter a lot of innovators.
Fixing the Patent System Means Fixing Patents
There are two patent reform bills currently in Congress, the PATENT Act and the Innovation Act. EFF supports both bills, and we hope you’ll take a moment to encourage your members of Congress to support them too.
Those bills mostly only address patent litigation, though. If we really want to make the patent system the agent of innovation that the Constitution calls for, we need to tackle the problem of patent quality.
Right now, software patents are the loading screen of the intellectual property world. They add nothing of value to the game. They just force everyone to sit and wait before we can do anything.






